Athena အင်ဂျင်နီယာ S.r.l.
Athena အင်ဂျင်နီယာ S.r.l.
ထုတ်ကုန်များ
အပူထိန်းသိမ်းခြင်းအတွက် API OH1 အလျားလိုက် Centrifugal Pumps
  • အပူထိန်းသိမ်းခြင်းအတွက် API OH1 အလျားလိုက် Centrifugal Pumpsအပူထိန်းသိမ်းခြင်းအတွက် API OH1 အလျားလိုက် Centrifugal Pumps

အပူထိန်းသိမ်းခြင်းအတွက် API OH1 အလျားလိုက် Centrifugal Pumps

Model:T2LP
အပူထိန်းသိမ်းခြင်းအတွက်အပူထိန်းသိမ်းခြင်းအတွက်အလျားလိုက် Centrifugal Pumps များသည်အပူထိန်းသိမ်းခြင်းအတွက်ဆန်းသစ်သောအဆင့်မြှင့်တင်မှုများကို Teffiko မှပြုလုပ်သည်။ Teffiko ၏စီးရီးများရှိပန့်များသည်တီထွင်ကြံဆသောဒီဇိုင်းများဖြစ်သည်။ သူတို့၏ဆွန်းအသားညှပ်ပေါင်မုန့်ဖွဲ့စည်းပုံသည်မီဒီယာအမျိုးမျိုးနှင့်သဟဇာတဖြစ်ပြီးတိကျသောအပူချိန်ထိန်းချုပ်မှုကိုသက်ရောက်။ တည်ငြိမ်သောသယ်ယူပို့ဆောင်ရေးကိုသေချာစေရန်နှင့်ပိုမိုရှုပ်ထွေးသောလုပ်ငန်းခွင်အခြေအနေများအောက်တွင်အလွန်ကောင်းမွန်သောစွမ်းဆောင်ရည်ကိုပြသနိုင်ပြီးဓာတုထုတ်လုပ်မှုလုပ်ငန်းစဉ်များတွင်ချောမွေ့စွာလုပ်ဆောင်နိုင်စွမ်းရှိစေသည်။ ဖောက်သည်များအား 0 ယ်ယူသူများ၏နိယာမကိုပထမ ဦး စွာလိုက်နာခြင်း, ကျွန်ုပ်တို့၏စျေးနှုန်းသည်အလွန်အမင်းယှဉ်ပြိုင်နိုင်စွမ်းရှိပြီးသင့်အားတတ်နိုင်သောအရည်အသွေးရှိသောထုတ်ကုန်များကိုတတ်နိုင်သောကုန်ကျစရိတ်ဖြင့်ရယူရန်ခွင့်ပြုသည်။

Teffiko T2LP စီးရီးတွင်အပူထိန်းသိမ်းခြင်းအတွက် insulation ကိုအပူထိန်းသိမ်းရန်အတွက် insulatory အတွက် insulatory ကိုသယ်ဆောင်ရန်လုံလောက်သော Centrifugal Pumps များသည်မီဒီယာများ, အေးခဲနေသောမီဒီယာများ,

● Insulated pump pump body - စဉ်ဆက်မပြတ်အပူချိန်ကိုထိန်းသိမ်းရန်နှင့်ခြေလျင်ထိန်းသိမ်းထားရန် insulated pump cover နှင့်ပေါင်းစပ်ပြီးခြေဖြင့်ထောက်ပံ့သည်။

● impeller: ပိတ်ထားသောအမျိုးအစား။ Axial Force သည် Balance Holdes သို့မဟုတ် Auxily Vanes တို့ဖြင့်မျှတမှုရှိပြီးကျန်ရှိသောအင်အားသည်ဝက်ဝံများဖြင့်မွေးဖွားသည်။

● Insulated Pump Cover - 0 န်ဆောင်မှုဆိုင်ရာတံဆိပ်ခတ်ထားသောဂလင်းများနှင့်အတူစံတံဆိပ်ခတ်ထားသောအခန်းကိုဖွဲ့စည်းသည်။

● Shaft Seal: 0 န်ဆောင်မှုအခြေအနေများ, ထုပ်ပိုးခြင်း,

●ဝက်ဝံများ - အဆီပါးလွှာသောရေနံနှင့်အတူချောဆီ။ အဆက်မပြတ်အဆင့်ရေနံဖလားသည်ချောဆီကိုသေချာစေရန်ရေနံပမာဏကိုထိန်းချုပ်သည်။

● 0 န်ဆောင်မှုကိုကာကွယ်ရန်နှင့် 0 န်ဆောင်မှုကိုတိုးချဲ့ရန်နှင့် 0 န်ဆောင်မှုပေးရန်ရိုးတံဖြင့်ရိုးတံဖြင့်ကာကွယ်ထားသည်။

●နောက်ဘက်မှပံ့ပိုးထားသောဒီဇိုင်း - ချေးယူမှုကိုကာကွယ်ရန်နှင့် 0 န်ဆောင်မှုပေးခြင်းနှင့် 0 န်ဆောင်မှုပေးခြင်းအားဖြင့်ရိုးတံဖြင့်ကာကွယ်ထားသည်။


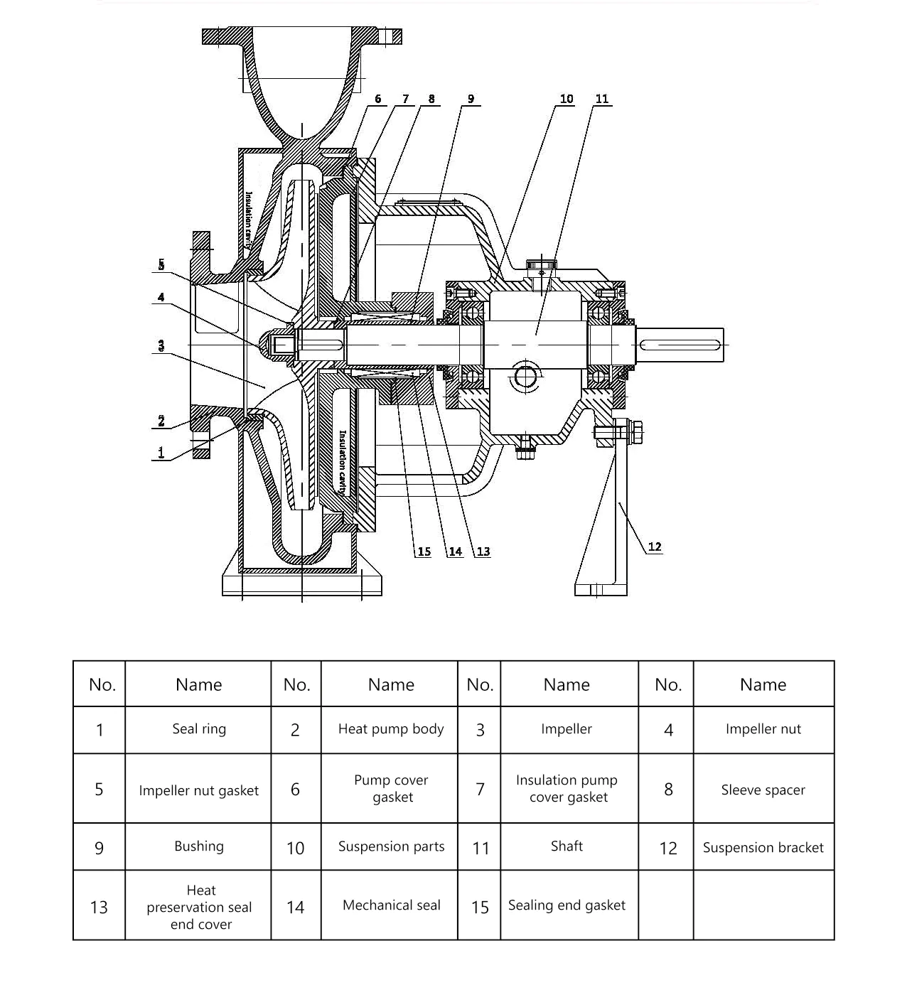
T2LP Centrifugal Pump ပုံကြမ်း

Api Oh1horizontal Centrifugal Pumps For Heat Preservation

လျှောက်လွှာ areas ရိယာ

●ရေနံဓာတုဗေဒစက်မှုလုပ်ငန်း - အပူချိန်မြင့်မားသောရေနံစိမ်း,

●ကောင်းသောဓာတုဗေဒစက်မှုလုပ်ငန်း - အရည်ပျော်သောဆာလလလ်urနှင့်အရည် phenolic ဗဓေလန်း၏စဉ်ဆက်မပြတ်အပူချိန်။

●ဆေးဝါးကဏ် field - အပူရှိန်သော APIs နှင့်ရည်ကဲ့သို့သောမီဒီယာများကိုသယ်ယူပို့ဆောင်ရေး။

●သကြားစက်မှုလုပ်ငန်း - ရည်, သကြား paste နှင့်သကာရည်သယ်ယူပို့ဆောင်ရေးအတွက်အသုံးပြုသည်။

●ဘွိုင်လာအစာကျွေးသောရေသယ်ယူပို့ဆောင်ရေးအတွက်ရေကိုသယ်ယူပို့ဆောင်ခြင်းအတွက်ရေ,

●စက္ကူစက်များ - အပူချိန်မြင့်မားသောပျော့ဖတ်,


အလုပ်လုပ်အခြေအနေများ

●စီးဆင်းမှုနှုန်း: 2 - 2000m³ / h

●ခေါင်း - 160 မီတာအထိ

●ဖိအား - ≤2.5MPA

●အပူချိန်: - 40 ℃ - 260 ℃

●လှည့်မြန်နှုန်း: 1450RPM / Min, 2950rpm / min


Hot Tags: api oh1 အပူထိန်းသိမ်းခြင်း, Teffiko အပူစုပ်စက်, Teffiko အပူစုပ်စက်,
စုံစမ်းမေးမြန်းရန်ပေးပို့ပါ။
ဆက်သွယ်ရန်အချက်အလက်
API Centrifugal Pumps များအကြောင်းမေးမြန်းစုံစမ်းလိုသည်များအတွက် script pumps များ, script scription twin screw pump screw pump သို့မဟုတ်စျေးနှုန်းများစာရင်းတွင် ကျေးဇူးပြု. သင်၏အီးမေးလ်ကိုကျွန်ုပ်တို့ထံသို့ထားခဲ့ပါ။ 24 နာရီအတွင်းကျွန်ုပ်တို့ဆက်သွယ်ပါမည်။
သတင်းအကြံပြုချက်များ
  • BACK TO ATHENA GROUP
  • X
    သင့်အား ပိုမိုကောင်းမွန်သောကြည့်ရှုမှုအတွေ့အကြုံကို ပေးဆောင်ရန်၊ ဆိုက်အသွားအလာကို ပိုင်းခြားစိတ်ဖြာပြီး အကြောင်းအရာကို ပုဂ္ဂိုလ်ရေးသီးသန့်ပြုလုပ်ရန် ကျွန်ုပ်တို့သည် ကွတ်ကီးများကို အသုံးပြုပါသည်။ ဤဆိုက်ကိုအသုံးပြုခြင်းဖြင့် ကျွန်ုပ်တို့၏ cookies အသုံးပြုမှုကို သင်သဘောတူပါသည်။ ကိုယ်ရေးအချက်အလက်မူဝါဒ
    ငြင်းပယ်ပါ။ လက်ခံပါတယ်။